2024年10月广东自考将在10月26日-27日进行考试,报名时间也已经确定了,提前了解报名时间、流程及开考课程是顺利报考的关键,下面一起来看看吧。
一、根据广东省教育考试院的最新公告,2024年广东10月自考报名时间定于8月27-9月7日。具体报名时间请广大考生密切关注广东省教育考试院官方网站或官方微信公众号,以免错过报名时间。

二、报名入口
https://www.eeagd.edu.cn/selfec/

三、报考条件
凡在我省居住和工作的中华人民共和国公民,不受性别、年龄、民族、种族和已受教育程度的限制,均可参加我省自学考试。港澳和台湾同胞、海外侨胞及外籍人士,也可按规定参加我省自学考试。
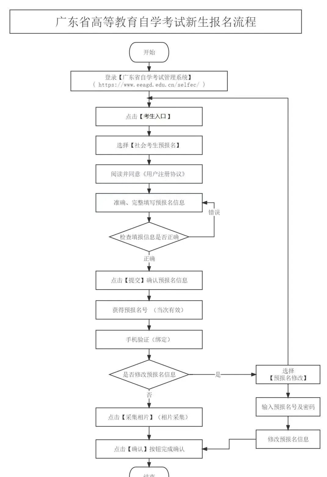
一:新生报名流程
新生报名分预报名和正式报名两个阶段。
1.预报名。新生通过广东省自学考试管理系统,从【考生入口】通道进行预报名。预报名时考生须录入个人信息并设置个人密码,预报名成功后将得到唯一的预报名号,预报名号仅当次有效。考生预报名成功后还须完成本人手机绑定及相片采集才能进行正式报名。
2.正式报名。本次正式报名全部网上进行,考生须凭当次预报名号,在规定时间内进行确认操作,完成正式报名(相片采集)。正式报名成功后将获得唯一准考证号,所有考生务必牢记。

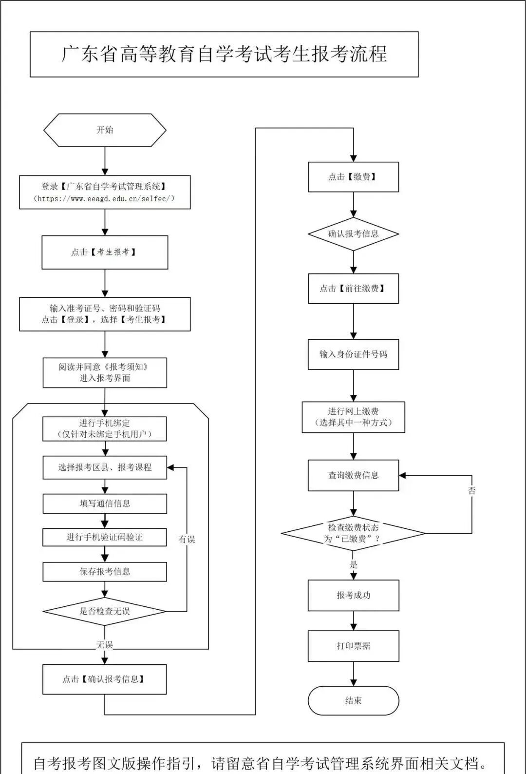
二、自考报考流程
考生报考。所有考生须通过广东省自学考试管理系统的【考生报考】通道报考课程,并进行网上缴费。考生报考时如未绑定联系手机,则须先完成本人手机绑定方可报考,需要修改已绑定手机的也可通过报考菜单栏的【手机绑定】功能进行解绑和重新绑定。无法自行解绑手机的,可到考区所在地市自学考试办公室或其指定单位解绑。

一、2024年10月广东省自考各专业开考课程考试时间安排表 :

二、根据广东教育考试院通知:
① 广东省2024年10月自考开考新专业共17个,其中本科层次专业14个(类型为专升本),专科层次专业3个(类型为专科):
② 广东省2024年10月自考新增开考消防工程、质量管理工程、质量管理与认证3个专业:
新增小学教育等17个开考专业课程表↓↓



(上下滑动图文查看)
新增消防工程等3个开考专业课程表↓↓

个人设置
修改密码
查看帮助
安全退出

粤公网安备 44010602009776号
电子营业执照





